| » placi turnante |
| |
| Placi turnante |
|
| Conveioarele suspendate prevazute cu intersectii de cai necesita frecvent untilizarea placilor turnante, care previne folosirea unor increngaturi de macaze, deci realizarea unei economii de spatiu. |
| |
 |  |
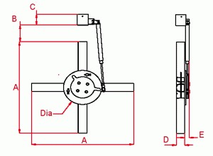
| Profil |
Referinta |
A |
B |
R |
D |
E |
Dia |
| 9030 |
9301P4 |
662 |
162 |
54 |
35 |
31 |
280 |
| 9040 |
9401P4 |
662 |
162 |
65 |
43.5 |
31 |
280 |
| 9050 |
9501P4 |
750 |
114 |
90 |
60 |
37 |
280 |
| 9060 |
9601P4 |
750 |
114 |
110 |
75 |
37 |
280 |
|
| Racorduri cu dublu sens 1/8F, distribuitorul pneumatic nu este inclus. |
|
| Macaze turnante |
 |  |
| Profil |
Referinta |
A |
B |
R |
D |
E |
F |
| 9030 |
9300AT |
1320 |
1150 |
130 |
190 |
1620 |
|
| 9040 |
9400AT |
1300 |
1150 |
135 |
195 |
|
1450 |
| 9050 |
9500AT |
1350 |
1150 |
190 |
220 |
|
1550 |
| 9060 |
9600AT |
1880 |
1650 |
205 |
240 |
|
2060 |
|